|
您現(xian)在的位(wei)置 > 首頁(ye) > 産品中(zhong)心
|
SKLUW型衛(wei)生型渦(wo)街流量(liang)計
防爆(bao)合格證(zheng)編号:CNEx23.2893X
|
|
|
SKLUW型(xing)衛生型(xing)渦街流(liu)量計
主(zhu)要用于(yu)工業管(guan)道介質(zhi)流體的(de)流量測(ce)量.其特(te)點是壓(ya)力損失(shi)小,量程(cheng)範圍大(da),精度高(gao),廣泛适(shi)用于食(shi)品、化工(gong)等行業(ye)對壓縮(suo)空💃氣和(he)一般氣(qi)體(氧氣(qi)、氮氣、氫(qing)氣、天然(ran)氣、煤🏃♀️氣(qi)等) 、水和(he)液體的(de)計量和(he)控制.
一(yi)、衛生型(xing)渦街流(liu)量計工(gong)作原理(li)
在流體(ti)中設置(zhi)非流線(xian)型旋渦(wo)發生體(ti)(阻流體(ti)),則從旋(xuan)渦發生(sheng)體兩側(ce)交替地(di)産生兩(liang)列有規(gui)則的旋(xuan)渦,這種(zhong)旋渦稱(cheng)爲♍卡曼(man)渦街,如(ru)圖1所示(shi)。
旋渦列(lie)在旋渦(wo)發生體(ti)下遊非(fei)對稱地(di)排列。設(she)旋渦的(de)發🔞生🛀🏻頻(pin)率㊙️爲f,被(bei)測介質(zhi)來流的(de)平均速(su)度爲V,旋(xuan)渦發生(sheng)體迎流(liu)面寬度(du)爲d,表體(ti)通徑爲(wei)D,根據卡(ka)曼渦街(jie)💃🏻原理,有(you)如下關(guan)系式:
f=StV/d (1)
式(shi)中:
f-發生(sheng)體一側(ce)産生的(de)卡門旋(xuan)渦頻率(lü)
St-斯特羅(luo)哈爾數(shu)(無量綱(gang)數)
V-流體(ti)的平均(jun)流速
d-旋(xuan)渦發生(sheng)體的寬(kuan)度
由此(ci)可見,通(tong)過測量(liang)卡門渦(wo)街分離(li)頻率便(bian)可算出(chu)✔️瞬時流(liu)量。其中(zhong),斯特羅(luo)哈爾數(shu)(St)是無因(yin)次未知(zhi)數,圖2表(biao)示㊙️斯特(te)羅哈爾(er)數(St)與雷(lei)🙇♀️諾數(Re)的(de)關系。
在(zai)曲線表(biao)中St=0.17的平(ping)直部分(fen),漩渦的(de)釋放頻(pin)率與流(liu)速成🔞正(zheng)比,即爲(wei)渦街流(liu)量傳感(gan)器測量(liang)範圍度(du)。隻要檢(jian)🐇測出‼️頻(pin)率f就可(ke)以求得(de)管内流(liu)體的流(liu)速,由流(liu)速V求出(chu)體積流(liu)量。所測(ce)得的脈(mo)沖數與(yu)體積量(liang)之比,稱(cheng)爲儀表(biao)常數☂️(K),見(jian)式(2)
K=N/Q(1/m³) (2)
式中(zhong):K=儀表常(chang)數(1/m³)。
N=脈沖(chong)個數
Q=體(ti)積流量(liang)(m³)
二、衛生(sheng)型渦街(jie)流量計(ji)主要技(ji)術指标(biao)
表1
|
公稱(cheng)通徑(mm)
|
15,20,25,32,40,50,65,80,100
|
|
公(gong)稱壓力(li)(MPa)
|
DN15-DN100 PN1.0
|
|
介質溫(wen)度(℃)
|
常溫(wen)
|
|
本體材(cai)料
|
304、316L
|
|
允許(xu)振動加(jia)速度
|
壓(ya)電式:0.2g 電(dian)容式:1.0~2.0g
|
|
精(jing)确度
|
±1.0% FS,±1.5%FS,±2.5%FS
|
|
範(fan)圍度
|
1:6~1:10
|
|
供(gong)電電壓(ya)
|
傳感器(qi):+12V DC,+24V DC;變送器(qi):+12VDC,+24V DC;電池供(gong)電型:3.6V電(dian)池
|
|
輸出(chu)信号
|
方(fang)波脈沖(chong)(不包括(kuo)電池供(gong)電型):高(gao)電平≥5V,低(di)電平≤1V;電(dian)流:4~20mA
|
|
壓力(li)損失系(xi)數
|
符合(he)JB/T9249标準 Cd≤2.4
|
|
防(fang)爆标志(zhi)
|
隔爆型(xing):EXdbIICT6Gb
|
|
防護等(deng)級
|
普通(tong)型IP65
|
|
環境(jing)條件
|
溫(wen)度-20℃~55℃,相對(dui)濕度5%~90%,大(da)氣壓力(li)86~106kPa
|
|
适用介(jie)質
|
氣體(ti)、液體
|
|
傳(chuan)輸距離(li)
|
三線制(zhi)脈沖輸(shu)出型:≤300m,兩(liang)線制标(biao)準電流(liu)輸出型(xing) (4~20mA):負載電(dian)阻≤750Ω
|
表2 參(can)比條件(jian)下衛生(sheng)型渦街(jie)流量計(ji)工況流(liu)量範圍(wei)♊表:
表(biao)3衛生型(xing)渦街流(liu)量計本(ben)體外形(xing)尺寸:
|
口(kou)徑DN(mm)
|
R
|
DN(mm)
|
卡盤(pan)外徑D(mm)
|
表(biao)體長度(du)(mm)不帶補(bu)償/帶補(bu)償
|
|
15
|
φ19
|
15
|
φ50.5
|
110/130
|
|
20
|
φ25
|
20
|
φ50.5
|
110/130
|
|
25
|
φ32
|
25
|
φ50.5
|
110/130
|
|
32
|
φ38
|
32
|
φ50.5
|
110/130
|
|
40
|
φ45
|
40
|
φ64
|
110/130
|
|
50(非标(biao))
|
φ51
|
47.5
|
φ64
|
110/130
|
|
50
|
φ57
|
50
|
φ77.5
|
110/130
|
|
65
|
φ76
|
65
|
φ91
|
110/130
|
|
80
|
φ89
|
85
|
φ106
|
110/130
|
|
100
|
φ108
|
104
|
φ119
|
110/130
|
三、衛生(sheng)型渦街(jie)流量計(ji)産品選(xuan)型:
|
型号(hao)
|
口徑
|
代(dai)号及功(gong)能
|
|
SKLUW
|
DN15~DN100
|
|
|
|
|
代号(hao)
|
功能1
|
|
N
|
無(wu)溫壓補(bu)償
|
|
Y
|
有溫(wen)壓補償(chang)
|
|
|
代号
|
輸(shu)出信号(hao)
|
|
F1
|
4-20mA輸出(二(er)線制)
|
|
F2
|
脈(mo)沖
|
|
F3
|
RS485通訊(xun)接口
|
|
F4
|
HART協(xie)議
|
|
|
代号(hao)
|
被測介(jie)質
|
|
J1
|
液體(ti)
|
|
J2
|
氣體
|
|
|
代(dai)号
|
功能(neng)2
|
|
E1
|
1.0級(适用(yong)于液體(ti))
|
|
E2
|
1.5級
|
|
E3
|
2.5級(DN15 DN20)
|
|
|
T1
|
常(chang)溫
|
|
|
P1.0
|
1.0MPa
|
|
|
D1
|
内部(bu)3.6V供電(不(bu)帶輸出(chu))
|
|
D2
|
DC24V供電
|
|
|
B
|
不(bu)鏽鋼(本(ben)體材質(zhi)304)
|
|
BF
|
不鏽鋼(gang)(本體材(cai)質316)
|
訂貨(huo)須知
尊(zun)敬的用(yong)戶,當您(nin)要選用(yong)本公司(si)産品時(shi),請并做(zuo)好以下(xia)工作:
1.認(ren)真核對(dui)被測介(jie)質的工(gong)況條件(jian):溫度、壓(ya)力、管徑(jing)等工藝(yi)參數🈲。
2.認(ren)真核對(dui)被測介(jie)質的使(shi)用流量(liang)範圍,特(te)别是最(zui)小流量(liang)值以最(zui)終确定(ding)使用儀(yi)表的口(kou)徑及配(pei)管參數(shu)。
3.确定儀(yi)表的安(an)裝地點(dian),保證直(zhi)管段,并(bing)爲儀表(biao)的安裝(zhuang)維護創(chuang)造好的(de)環境條(tiao)件。
四、衛(wei)生型渦(wo)街流量(liang)計安裝(zhuang)要求
儀(yi)表的正(zheng)确安裝(zhuang)是保障(zhang)儀表正(zheng)常運行(hang)的重要(yao)環節💃,若(ruo)安裝不(bu)當,輕則(ze)影響儀(yi)表的使(shi)用精度(du),重則會(hui)👉影響儀(yi)表的使(shi)🐆用壽♈命(ming),甚💔至會(hui)損壞儀(yi)表。
A、安裝(zhuang)環境要(yao)求:
1.盡可(ke)能避開(kai)強電設(she)備、高頻(pin)設備、強(qiang)開關電(dian)源設備(bei)‼️。儀表的(de)供電電(dian)源盡可(ke)能與這(zhe)些設備(bei)分離。
2.避(bi)開高溫(wen)熱源和(he)輻射源(yuan)的直接(jie)影響。若(ruo)必須安(an)裝,須🌏有(you)隔熱♉通(tong)💜風措施(shi)。
3.避開高(gao)濕環境(jing)和強腐(fu)蝕氣體(ti)環境。若(ruo)必須安(an)裝,須有(you)🍉通風措(cuo)施。
4.渦街(jie)流量儀(yi)表應盡(jin)量避免(mian)安裝在(zai)振動較(jiao)強的管(guan)道上。若(ruo)必須安(an)裝,須在(zai)其上下(xia)遊2D處加(jia)設管道(dao)緊固裝(zhuang)置🏒,并加(jia)防振墊(nian),加強抗(kang)振效果(guo)。
5.儀表最(zui)好安裝(zhuang)在室内(nei),安裝在(zai)室外應(ying)注意防(fang)水,特别(bie)✍️注🥰意在(zai)電氣接(jie)口處應(ying)将電纜(lan)線彎成(cheng)U形,避免(mian)水順着(zhe)🈲電纜線(xian)進🌈入放(fang)👣大器殼(ke)内。
6.儀表(biao)安裝點(dian)周圍應(ying)該留有(you)較充裕(yu)的空間(jian),以便安(an)裝接🏃🏻♂️線(xian)和🧑🏾🤝🧑🏼定期(qi)維護。
B、儀(yi)表管道(dao)安裝要(yao)求
:
1.渦街(jie)流量儀(yi)表對安(an)裝點的(de)上下遊(you)直管段(duan)有一定(ding)要求,否(fou)則會影(ying)響介質(zhi)在管道(dao)中的流(liu)場,影響(xiang)儀表的(de)測量精(jing)度。儀表(biao)的上下(xia)遊直管(guan)段長度(du)要求見(jian)圖3
DN爲儀(yi)表工
單(dan)位:mm
傳感(gan)器上遊(you)
管道型(xing)式
|
前後(hou)直管段(duan)長度
|
傳(chuan)感器上(shang)遊
管道(dao)型式
|
前(qian)後直管(guan)段長度(du)
|
|
同心收(shou)縮
全開(kai)閥門
|
|
一(yi)個90度
彎(wan)頭
|
|
|
同一(yi)平面兩(liang)
個90度彎(wan)頭
|
|
不同(tong)平面兩(liang)
個90度彎(wan)頭
|
|
|
同心(xin)擴管
|
|
調(diao)節閥半(ban)開
閥門(men)(不推薦(jian))
|
|
注:調節(jie)閥盡可(ke)能不安(an)裝在渦(wo)街流量(liang)儀表的(de)上遊,而(er)應安裝(zhuang)在渦街(jie)流量儀(yi)表的下(xia)遊10D處。
1.上(shang)、下遊配(pei)管内徑(jing)應相同(tong)。如有差(cha)異,則配(pei)管内徑(jing)Dp與渦街(jie)儀表表(biao)體内徑(jing)Db,應滿足(zu)以下關(guan)系
0.98Db≤Dp≤1.05Db
上、下(xia)遊配管(guan)應與流(liu)量儀表(biao)表體内(nei)徑同心(xin),它們之(zhi)間的不(bu)同✂️軸度(du)應小于(yu)0.05Db
2.儀表與(yu)法蘭之(zhi)間的密(mi)封墊,在(zai)安裝時(shi)不能凸(tu)入管内(nei),其内🌈徑(jing)應比表(biao)體内徑(jing)大1-2mm
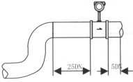
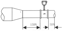
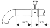
a)測壓(ya)孔和測(ce)溫孔的(de)安裝設(she)計。被測(ce)管道需(xu)要安裝(zhuang)溫度👉和(he)壓力變(bian)送器時(shi),測壓孔(kong)應設置(zhi)在下遊(you)3-5D處,測溫(wen)孔應設(she)置在下(xia)遊🥰6-8D處,見(jian)圖(七)。D爲(wei)儀表工(gong)稱口徑(jing),單位:mm
b)儀(yi)表在在(zai)管道上(shang)可以水(shui)平、垂直(zhi)或傾斜(xie)安裝。
c)測(ce)量氣體(ti)時,在垂(chui)直管道(dao)安裝儀(yi)表,氣體(ti)流向不(bu)限💯。但若(ruo)🥵管道内(nei)含少量(liang)液體,爲(wei)了防止(zhi)液體進(jin)入儀表(biao)測量管(guan),氣流應(ying)自下而(er)上流動(dong),如圖4a所(suo)示
d)測量(liang)液體時(shi),爲了保(bao)證管内(nei)充滿液(ye)體,所以(yi)在垂直(zhi)或傾斜(xie)管道安(an)裝儀表(biao)時,應該(gai)保證液(ye)體流動(dong)方向從(cong)下而上(shang)。若管道(dao)内含少(shao)量氣體(ti),爲了防(fang)止氣體(ti)進🔞入儀(yi)表測量(liang)管,儀表(biao)應安裝(zhuang)在🔞管線(xian)的較低(di)處如圖(tu)4b所示
五(wu)、壓力變(bian)送器和(he)Pt100安裝位(wei)置示意(yi)圖
|
|
|